
.
.
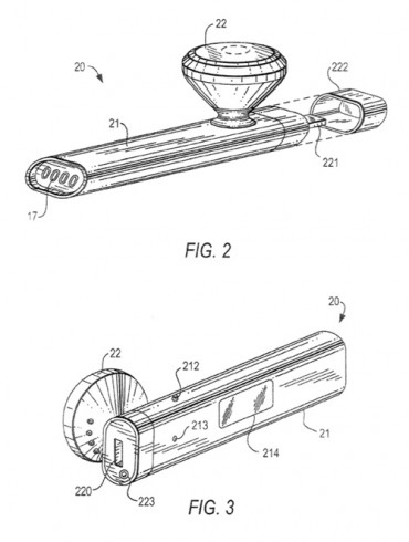
Une fois de plus et comme toujours pour Apple, l’information obtenue est à prendre au conditionnel. Cette information, c’est la possible apparition future d’un iPod version oreillette-casque Bluetooth/RF.
Un dépôt de brevet a été déposé par Apple concernant ce nouveau produit. Il s’agirait ni plus ni moins d’une oreillette Bluetooth et/ou RF stéréo qui permettrait aux possesseurs d’iPod et d’iPhone de profiter de leur gout musicaux sans avoir la gêne d’un câble entre leurs oreilles et leur lecteur audio portable.
Mais selon les informations obtenues, outre le fait de faire office de casque pour l’iPod/ iPhone, ce casque serait doté de sa propre mémoire et serait donc en mesure de faire office de lecteur iPod.
Ainsi après l’iPod, iPod touch, iPod Shuffle aurons nous droit a un iPod Ear ? Seul l’avenir (et Apple) nous le dira.
























